【行业深度研究】10年600亿,章泽天到底都干了啥?

作 者 | 无忌
正文共计3174字,预计阅读时长8分钟
章泽天因为投资事业出圈了。
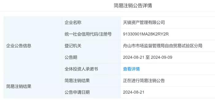
据《每日经济新闻》报道,9月3日天眼查App显示,天镜资产管理有限公司(天镜资管)新增一则简易注销公告,公告期自8月21日至9月9日,从开始简易注销已经过去十余天,天镜资管理的注销已经接近尾声。

这一事件正好在京东发布一份业绩亮眼的中报之后不久。中报显示,2024年上半年,京东营收5514亿元,同比增长3.87%。归母净利润197.7亿元,同比增长53.98%。销售毛利率15.54%创下新高,其3.8%的净利率也创下2020年以来的新高。
9月5日,国际评级机构穆迪将京东的信用评级从Baa1上调至A3。这是穆迪自2016年以来第三次上调京东评级。穆迪预测,京东未来将继续保持核心零售业务的稳定增长,第三方商家的数量和业务增长也值得关注。高效的成本管控、营运效率的提升和品类矩阵的进一步优化,京东健康的盈利水平将长期维持。
热门文章
  
 
       
      










